无锡市双瑞机械有限公司

始于1995年,专注干燥设备实力厂家专业制造结晶过滤洗涤干燥设备

联系方式:13861731823 0510-83451680 邮箱:wuxishuangrui@163.com

您当前的位置: 首页 > 新闻活动 > 技术中心

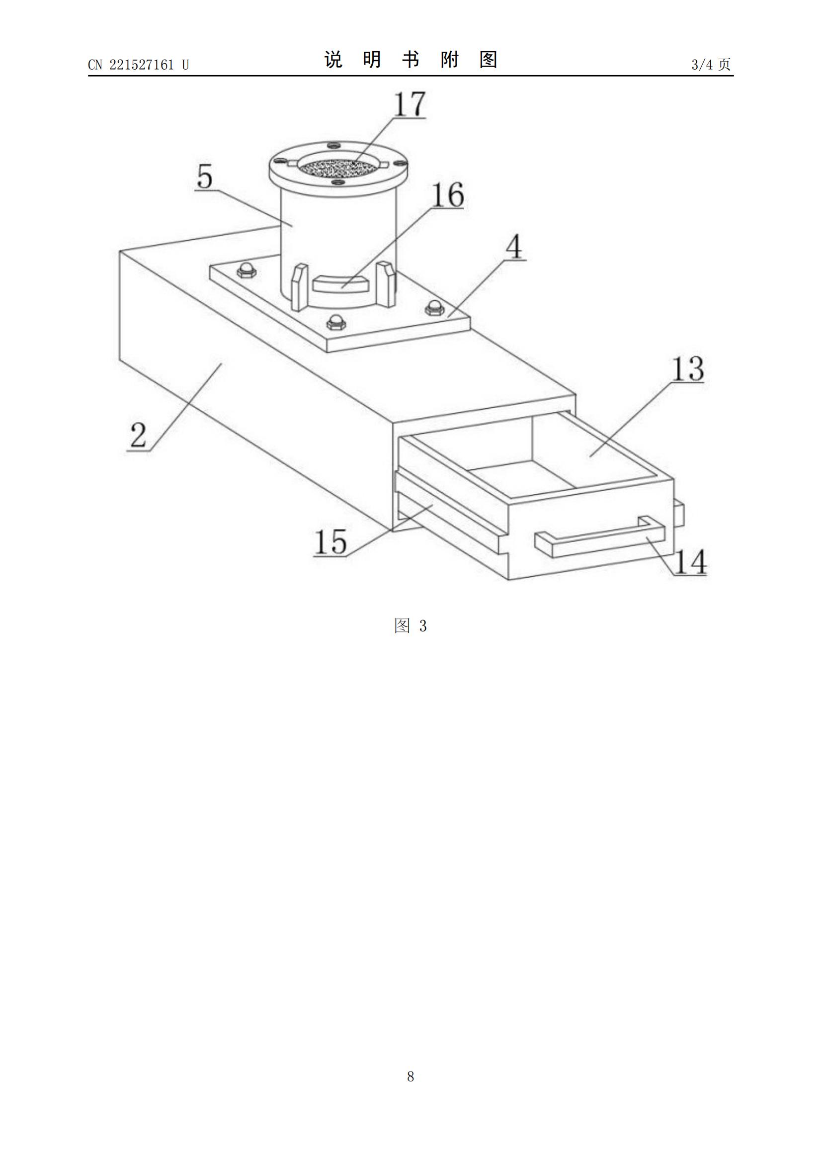
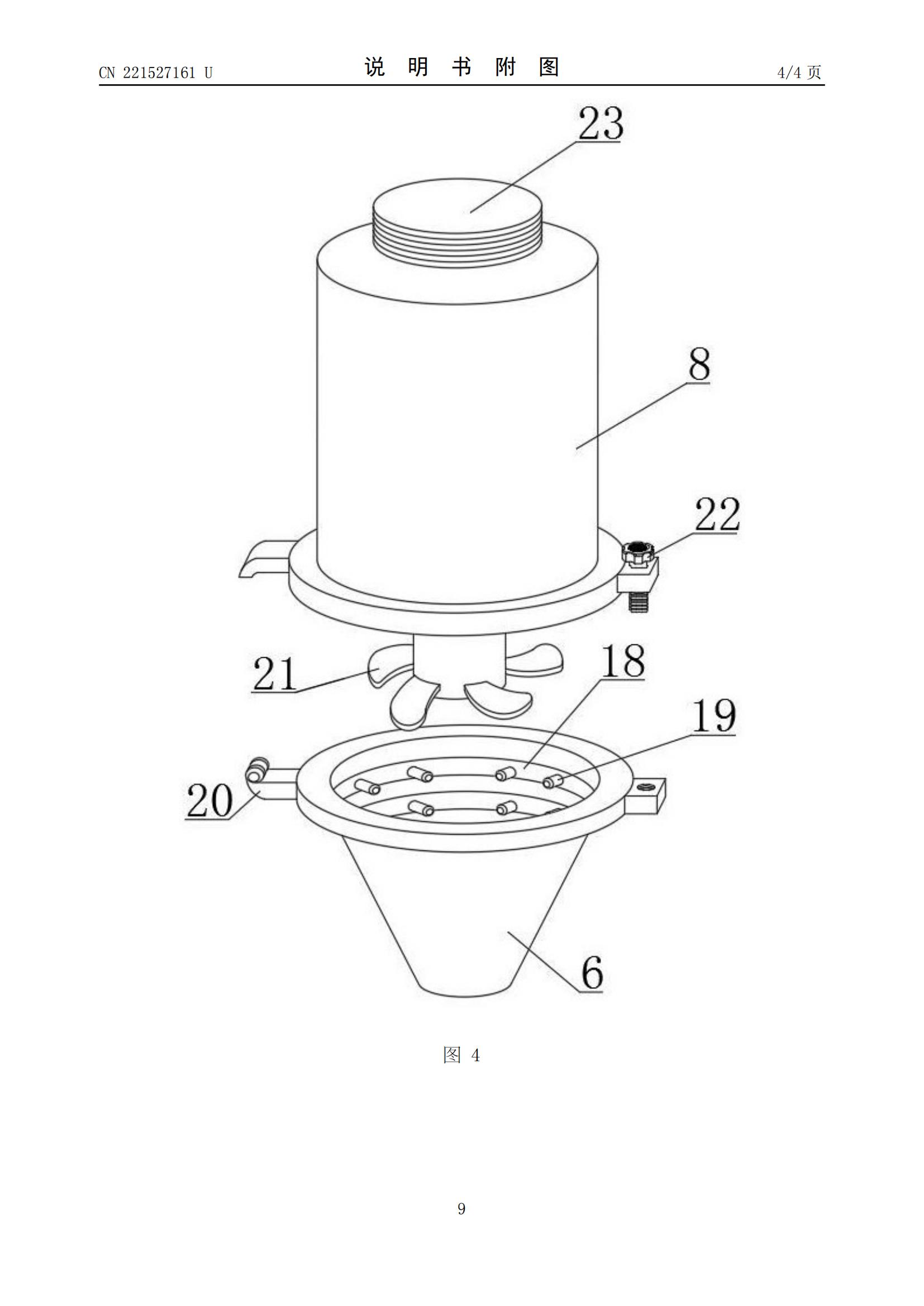
无锡双瑞专利:筒锥热风过滤洗涤干燥机

浏览: | 发布日期:2025-01-22 15:03:59




上一篇: 无锡双瑞专利:多功能过滤洗涤干燥机
下一篇: 没有了!

最新资讯